Je vaša podlaha EGGER poškodená? Hľadáte spôsoby, ako ju opraviť?
Pokiaľ je poškodenie malé (jemné odery a škrabance) podlaha sa dá opraviť pomocou korekčných sád (napr. opravná sada EGGER Mix and Fill). Pokiaľ je poškodenie na podlahe väčšie, môžete sa rozhodnúť pre výmenu celej podlahovej dosky.
V nasledujúcich riadkoch nájdete 3 spôsoby, ako vymeniť poškodenú podlahovú dosku na podlahe EGGER s inštalačným systémom Clic it!.
Pri všetkých 3 spôsoboch výmeny podlahovej dosky budete potrebovať náhradnú podlahovú dosku. Je ideálne, ak máte náhradnú dosku z rovnakej výrobnej šarže ako je podlahová plocha. Ešte pred samotnou výmenou je bezpodmienečne nutné vybalenú náhradnú podlahovú dosku skladovať a aklimatizovať jeden týždeň v miestnosti, v ktorej sa budú vymieňať podlahové dosky, aby sa dosiahlo potrebné rozmerové vyrovnanie medzi inštalovanou podlahou a náhradnou doskou. Preto odporúčame po pokládke podlahy odložiť si zopár lamiel pre prípad výmeny.
1. Výmena jednej alebo viacerých podlahových dosiek po odstránení poškodenej oblasti podlahy
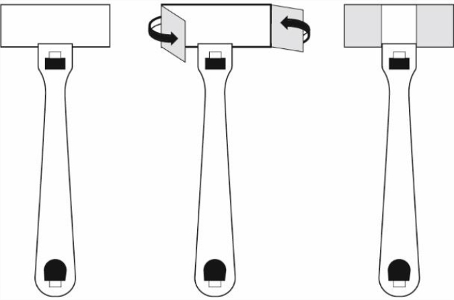
Prvým spôsobom výmeny podlahovej dosky je demontáž plávajúcej podlahy v radách. Tento spôsob sa môže použiť vtedy, ak to umožňuje usporiadanie nábytku.

Postup výmeny:
Pri demontáži podlahy postupujte smerom od najbližšej steny až po poškodený podlahový prvok. Vzhľadom k tomu, že inštalačný systém Clic it! umožňuje inštaláciu podlahových dosiek tiež opačným smerom, je možné podlahové dosky demontovať aj z tej strany, z ktorej bola pokládka zahájená.
Po odstránení podlahových líšt nadvihnite celú radu v miernom uhle v pozdĺžnom smere. Odpojte jednotlivé čelné strany naklonením podlahovej dosky pod uhlom. Vymeňte poškodenú podlahovú dosku v súlade s návodom na pokládku.


TIP: Odinštalované podlahové dosky ukladajte do radu, čo vám následne zjednoduší ich neskoršiu pokládku späť na miesto.
2. Výmena jednej podlahovej dosky v poškodenej oblasti
Pokiaľ nie je možné použiť prvý spôsob výmeny podlahovej dosky v poškodenej oblasti ( napr. z dôvodu, že to usporiadanie nábytku neumožňuje), je možné vymeniť podlahovú dosku druhým spôsobom- použitím ponornej píly.
K výmene podlahovej dosky potrebujete: náhradnú podlahovú dosku a nižšie uvedené nástroje
- podložka pre nástroj
- ceruza alebo popisovač
- maskovacia páska
- ponorná píla/ ručná okružná píla
- vodiaca lišta pre ponornú pílu
- vysávač
- stolárske dláto
- kladivo
- zdvihák na sklo (prísavka na sklo)
- D3 lepidlo na drevo (PVAC)
- závažie
- bloky ( o 10 cm dlhšie ako šírka podlahových dosiek)
- pasta Decor mix and fill, v prípade potreby tvrdý vosk alebo tmel na drevo
- parotesná lepiaca páska k oprave prípadného poškodenia podložky
Postup výmeny:
Na poškodenej podlahovej doske si vyznačte plánovaný priebeh rezu, ktorý bude končiť v rohoch vo vzdialenosti 3- 5 mm od okraja podlahovej dosky (viď. obrázok vpravo). Aby ste ochránili hrany a vizuálne vymedzili rozmery podlahovej dosky, prelepte páskou v oblasti hrán susedné podlahové dosky ( viď. obrázok vľavo).

Pred začiatkom rezania si najprv upravte presnú hĺbku rezu ponornej / kotúčovej píly (viď. obrázok: hĺbka rezu = hrúbke podlahovej dosky+ výška vodiacej lišty), aby nedošlo k poškodeniu podkladových materiálov. Pokiaľ dôjde k poškodeniu izolačnej podložky, prelepte ju parotesnou lepiacou páskou. K píle pripojte vysávač. Aby ste ochránili hrany, môžete tiež vyvŕtať malé otvory vo všetkých 4 rohoch.
Poškodenú dosku určenú k výmene rozrežte na 4 časti pomocou 2 diagonálnych rezov pozdĺž nakreslenej línie rezu (viď. obrázok), rez zakončite vo vzdialenosti 3 až 5 mm pred hranou/ okrajom podlahovej dosky.

Stolárskym dlátom opatrne vyseknite posledné milimetre zvyšnej dosky vo všetkých rohoch- pracujte smerom od hrany dosky k jej stredu, aby ste nepoškodili susedné dosky.

Odstráňte podlahovú dosku- opatrne nadvihnite 4 odrezané diely dosky v uvedenom poradí (viď. obrázok) a vyklopte ju pod uhlom.

Pre dokonalé lícovanie dosky (bez výškových nerovností) je nutné vždy dôkladne vysať vysávačom oblasti pier a drážok, ako aj oblasť podložky. Tým sa odstránia všetky prípadné zvyšky, úlomky a nečistoty.

Príprava náhradnej dosky (tento krok môžete urobiť vopred v dielni)
Na náhradnej doske podrežte pozdĺžnu a priečnu drážku ( viď. obrázok č. 2 a 3) a tiež odrežte pero na čelnej strane (viď. obrázok č.1). Aj v tomto prípadne nastavte ponornú/ kotučovú pílu správnu hĺbku rezu.

Ak chcete pred vložením novej podlahovej dosky skontrolovať, či náhradná doska správne lícuje postupujte nasledovne:
- na dosku zatiaľ nenanášajte lepidlo
- pripevníte k náhradnej doske zdvihák skla a vložte ju dlhou stranou do otvoru tak, že ju zasuniete stranou s perom šikmo zhora do pozdĺžnej drážky susediacej dosky a pripojíte ju spustením dole (viď. obrázok).
- skontrolujte presnosť lícovania a dosku za pomoci prísavky na sklo opäť odstráňte
- pokiaľ doska nesedí, je potrebné ju upraviť. Nakoľko sa spravidla jedná iba o 1/10 milimetra, väčšinou stačí dosku upraviť brúsnym papierom o zrnitosti 100.

Lepenie a pokládka náhradnej dosky
Nakoľko sú spoje náhradnej dosky upravené, ako je popísané vyššie (drážka v priečnom a pozdĺžnom smere a pero v priečnom smere), musí sa doska v mieste upravených spojov prilepiť. K tomuto účelu je potrebné použiť lepidlo na drevo D3 (PVAC). Biele lepidlo naneste v primeranom množstve na hornú časť pera a do drážok susediacich podlahových dosiek (viď. obrázok).

Následne vložte náhradnú dosku do pripraveného výrezu/ otvoru (ako v časti kontrola lícovania dosky) a znovu skontrolujte presnosť lícovania.

Novo vloženú náhradnú dosku je potrebné následne zaťažiť po dobu najmenej 12 hodín ( napr. knihami, bedňami na náradie a pod.), aby mohlo lepidlo vytvrdnúť. Počas tejto doby sa nedoporučuje opravenú oblasť zaťažovať, ani po nej chodiť.

Lepidlo, ktoré po pritlačení dosky vytečie zo špár ihneď odstráňte (podľa pokynov výrobcu) vlhkou handrou. Pokiaľ sú po vyčistení viditeľné drobné špáry medzi doskami, vyplňte ich tmeliacou pastou Decor Mix and Fill v zodpovedajúcom farebnom odtieni.
Pozrite si tento postup výmeny vo videu na konci článku
3. Výmena podlahovej dosky otvorením krátkej strany
Túto metódu je možné uplatniť iba u podláh EGGER s inštalačným systémom Clic it!, v prípade, že podlahová plocha má vzdialenosť od steny minimálne 10 mm.
K výmene podlahovej dosky potrebujete: náhradnú podlahovú dosku a nižšie uvedené nástroje
- nástroj na opravu, napríklad „Unifix Repair tool“
- obojstranná lepiaca páska
- podložka pre nástroj
- ceruza alebo popisovač
- ponorná píla alebo ručná kotúčová píla
- vodiaca lišta pre ponornú pílu
- vysávač
- kladivo
- zdvihák skla (prísavka na sklo)
- D3 lepidlo na drevo (PVAC)
- závažie a bloky ( o 10 cm dlhšie ako šírka podlahových dosiek)
- parotesná lepiaca páska pre opravu poškodenej podložky

Nástroj na opravu

vysoko adhézna obojstranná lepiaca páska
Postup výmeny:
Poškodenú podlahovú dosku si označte a nakreslite líniu rezu v strede podlahovej dosky.

Pripravte si nástroj na opravu a obojstrannú lepiacu pásku.

Odstránenie poškodenej podlahovej dosky
Umiestnite nástroj pre opravu na prvú dosku v rade, v ktorej sa nachádza poškodená podlahová doska a poklepte na túto dosku smerom ku stene, pokiaľ nie je úplne odomknutý/ otvorený krátky bočný spoj (viď. obrázok). Odstráňte z tejto dosky nástroj pre opravu, umiestnite ho na druhú dosku v rade a znova poklepaním odomknite krátky bočný spoj vodorovne smerom od seba. Tento postup opakujte, pokiaľ sa nedostanete k poškodenej podlahovej doske a neuvoľníte jej prednú stranu (viď. obrázok). Rovnaký postup opakujte na opačnej strane, pokiaľ nebude odomknutý krátky bočný spoj poškodenej podlahovej dosky.


Poškodená podlahová doska je teraz odomknutá na oboch koncoch.

Takto uvoľnenú dosku prerežte stredom v pozdĺžnom smere a obe časti nadvihnite a vyklopte mierne pod uhlom.

Pred prevedením rezu vždy upravte presnú hĺbku rezu ponornej píly ( hĺbka rezu = hrúbke dosky + výška vodiacej lišty), aby nedošlo k poškodeniu podkladových materiálov. Pred rezaním vždy k píle pripojte vysávač. Pokiaľ by došlo k poškodeniu izolačnej podložky, opravte ju parotesnou lepiacou páskou.


Pre dokonalé lícovanie dosky (bez výškových nerovností) je nutné dôkladne vysať oblasti pier a drážok, ako aj podložky vysávačom, čím sa odstránia prípadné zvyšky, úlomky a nečistoty.

Príprava náhradnej dosky
Na náhradnej doske podrežte pozdĺžnu drážku až ku spodnej časti drážky (viď. obrázok). Tento pracovný krok je možné previesť tiež vopred v dielni.

Vložte náhradnú dosku pod uhlom pozdĺžne, skontrolujte lícovanie a v prípade potreby polohu dosky upravte.

Pokiaľ je lícovanie presné, prilepte náhradnú dosku v oblasti pozdĺžnej drážky lepidlom na drevo D3 a vložte dosku do správnej polohy.

Nasledujúcim krokom bude uzavrietie rady. Novo vloženú podlahovú dosku je potrebné zaťažiť závažím a potom uzavrieť/ uzamknúť všetky spoje na krátkych stranách vodorovným poklepaním pomocou nástroja na opravu.



Doporučuje sa opravenú oblasť nezaťažovať po dobu min. 12 hodín a nechodiť po nej, aby lepidlo mohlo vytvrdnúť. Lepidlo, ktoré pri pritlačení dosky vytečie zo špár je potrebné vždy hneď odstrániť (podľa pokynov výrobcu) vlhkou handrou.

Pozrite si postup výmeny jednej podlahovej dosky v poškodenej oblasti